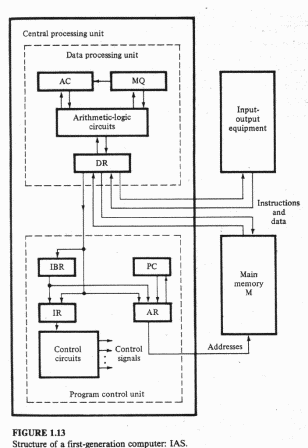
First generation computers were characterized by the fact that operating instructions were made-to-order for the specific task for which the computers was to be used. Each computer has a different binary-coded program called a machine language that told it how to operate. This made the computer difficult to program and limited its versatility and speed. Other distinctive features of first generation computers were the use of vacuum tubes (responsible for their breathtaking size) and magnetic drums of data storage. The computers during the period 1945 – 1956 are regarded as the First generation computers.
Characteristics of First Generation Computers
- These first generation computers were based on vacuum tube technology.
- These first generation computers were the fastest computing devices of their times (computation time was in Milli-Seconds).
- These first generation computers were very large, and required a lot of space for installation.
- Since thousands of vacuum tubes were used, they generated a large amount of heat. Therefore, air conditioning was essential.
- These first generation computers were non-profitable and very slow equipments.
- They lack in versatility and speed.
- They were very expensive to operate and used a large amount of electricity.
Images of first generation computers




6th generation computers are available or not ? Any one find 6th generation computers?
no;but I will like to know if its out.
first generation computers have realy been proved inefficient in its operation compared to what we have today.
These may seem hopelessly bulky and slow now, but in their time were considered miraculous. Computers like this were instrumental in winning World War II by helping to break Axis radio codes.